TSW200 Product Change Notifications

Wiki mirrorView source
Product change notifications (PCN) is way of informing customers of upcoming changes related to Teltonika products. This includes outward appearance adjustments, hardware improvements, changes to package contents, etc.
This page stores information regarding changes made to the TSW200 device. Below you will find a list of both upcoming and already implemented changes sorted from newest to oldest (top to bottom).

2025.08.25: Updated enclosure design

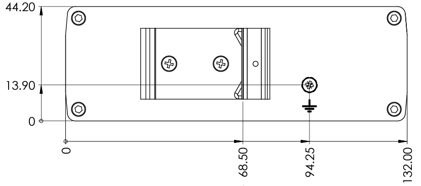
Starting from Q4 2025, the enclosure of TSW200 devices will be replaced with a new single-piece anodized design.
PCN Number: PCN_TSW200_Enclosure_Update_2025_08_25
Change descriptionIllustrationsFinish details
Change type Housing Revision
Detailed description
  • The updated enclosure is now made from a single piece instead of two separate parts.
  • Casing dimensions remain unchanged, but the depth and location of the grooves are different. See the images below for exact placement.
  • Engraving will be used instead of stickers for markings.
  • The new enclosure will be anodized instead of painted.
    Please note that this change will be implemented gradually, throughout a 3-month transitional period starting from Q4 2025. During this period, your shipments of TSW200 may consist of either the current or the new enclosure as described above.
Additional details
Illustrations Finish details
New enclosure
Old enclosure
New enclosure
Old enclosure
New enclosure
Old enclosure
Change reasons

To improve structural integrity, reduce waste, and simplify assembly.

Affected products information
Model Affected order codes Order code changes
TSW200 All No changes
Upcoming change date Q4 2025
Change impact
Risk assessment
  • Marketing materials, such as photos, may need to be replaced.
  • Engraved markings are permanent and cannot be removed like stickers.
  • The anodized finish may alter the surface colour and reflectivity.
  • Changes to groove depth and placement may affect accessory compatibility.
Suggested implementation plan

Information included in this PCN will help adapt to the upcoming changes. For more detailed information, please contact your sales representative.

Acknowledgement of PCN receipt
If no feedback is received within two weeks after the issue date of this notification, Teltonika may assume tacit acceptance and proceed with the enclosure update as described.
To download the PDF version of this notification, click here.

2025.02.21: QSG flyer replacement

Beginning in Q2 2025, TSW200 devices will come with a new QSG flyer in the packaging.
PCN Number: PCN_TSW200_QSG flyer replacement_2025.02.21_EN
Change description
Change type Packaging changes
Detailed description Starting in Q2 2025, TSW200 devices will include an updated Quick Start Guide (QSG) flyer in the packaging. This new flyer features multiple languages—English, German, Spanish, French, and Italian—along with a condensed version of the QSG and a QR code/link to the full web version at teltonika-networks.com/QSG_TSW200
Previous design:
New design:
Change reasons Introducing additional languages.
Affected products information
Model Affected order codes Order code changes
TSW200 TSW200 ****** N/A
Upcoming change date 2025, Q2
Change impact
Risk assessment Marketing material such as photos might need replacing.
Suggested implementation plan Information included in this PCN will help adapt to the upcoming changes. For more detailed information, please contact your sales representative.
Acknowledgement of PCN receipt
If no feedback is received within two weeks after the issue date of this notification - Teltonika may accept that this change has been tacitly accepted and can implement the change as indicated above
To download the pdf version of this notification, click here.

2024.11.25: New hardware revision

Starting from 2024 Q4, TSW200 switch will be produced with new hardware revision. These changes include transition to PoE alternative A instead of alternative B and and SFP connector recess.
PCN Number: PCN_TSW200_New_Hardware_2024_11_25
Change description
Change type Hardware change
Detailed description In order to ensure better compatibility with other devices, starting from 2024 Q4, TSW200 switch will be produced with PoE alternative A. For more information about PoE alternative A and alternative B, please visit: wiki.teltonika-networks.com/view/TSW200_First_Start

The SFP connector will be recessed by 3mm, ensuring precise and secure positioning. Its surface aligns flush with the panel, maintaining a clean and uniform appearance. This condition has no effect on functionality or performance.

Previous revision:


New revision:


Change reasons Increasing compatibility and reducing lead times
Affected products information
Model Affected order codes Order code changes
TSW200 TSW200 *0**** No changes
Upcoming change date 2024 Q4
Change impact
Risk assessment

Devices exclusively dependent on PoE alternative B will be incompatible with the TSW200 switch. However, it's important to note that such instances are uncommon.

Suggested implementation plan

Information included in this PCN will help adapt to the upcoming changes. For more detailed information, please contact your sales representative.

Acknowledgement of PCN receipt
If no feedback is received within two weeks after the issue date of this notification - Teltonika may accept that this change has been tacitly accepted and can implement the change as indicated above.
To download the pdf version of this notification, click here.

2024.11.22: Device Housing - Engraving/Labeling changes

Starting from December 2024, TSW200 devices will be produced with top and bottoms stickers.
PCN Number: PCN_Housing_Engraving.Labeling_TSW200_2024.11.22_EN
Change description
Change type Visual Changes
Detailed description The device will be manufactured with top and bottom stickers instead of engravings due to the thickness of the paint coating on the housing. The information on the stickers will not be affected.

Please note that this change will be implemented gradually, throughout a 1-month transitional period starting from December, 2024. During this period, your shipments of TSW200 may consist of either the current design or the new one described above.

Change reasons Reducing the risk for client to receive lower quality engraving on the housing.
Affected products information
Model Affected order codes Order code changes
TSW200 TSW200 ***** No changes
Upcoming change date December 1st, 2024
Change impact
Risk assessment

No risk factors are associated with this change. Please note: this product change notification does not affect any previous TSW200 devices, except new TSW200 devices that will be manufactured with this change.

Suggested implementation plan

Information included in this PCN will help adapt to the upcoming changes. For more detailed information, please contact your sales representative.

Acknowledgement of PCN receipt
If no feedback is received within two weeks after the issue date of this notification - Teltonika may accept that this change has been tacitly accepted and can implement the change as indicated above.
To download the pdf version of this notification, click here.

2024.09.18: EAN Code Change

Starting from October 1st 2024, new order codes created will have their own unique EAN codes.
PCN Number: PCN_EAN_Code_Change_TSW200_2024.09.18_EN
Change description
Change type Logistics change
Detailed description The product identification system is being updated by assigning unique EAN codes to each new order code created from October 1st.
Change reasons Improving product traceability, inventory management, and logistics accuracy across ordering and distribution systems.
Affected products information
Model Affected order codes Order code changes
TSW200 TSW200 ***** No changes
Upcoming change date October 1st, 2024
Change impact
Risk assessment

Every order code, created after this change, will have its own unique EAN code. Therefore, it might cause the need to review inventory management and ordering processes.

Suggested implementation plan

Information included in this PCN will help adapt to the upcoming changes. For more detailed information, please contact your sales representative.

Acknowledgement of PCN receipt
If no feedback is received within two weeks after the issue date of this notification - Teltonika may accept that this change has been tacitly accepted and can implement the change as indicated above.
To download the pdf version of this notification, click here.

2024.03.19: Visual colour housing changes

Beginning in July 2024, TSW200 switch will be manufactured with a different colour housing.
PCN Number: PCN_TSW200_2024_03_19_EN
Change description
Change type Housing colour
Detailed description TSW200 devices will be produced with a new black housing.


Please note that this change will be implemented gradually, throughout a 3-month transitional period starting in July 2024. During this period, your shipments of TSW200 may consist of either the current design or the new one described above.

Current design:

New design:

The housing dimensions will not be changed.
Change reasons Design improvement.
Affected products information
Model Affected order codes Order code changes
TSW200 TSW200 ****** N/A
Upcoming change date 2024 July
Change impact
Risk assessment Marketing material such as photos might need replacing.
Suggested implementation plan Marketing material regarding the changes will be found at our wiki: https://wiki.teltonika-networks.com/view/TSW200_Marketing_Material
For more detailed information please contact your sales representative.
Acknowledgement of PCN receipt
If no feedback is received within two weeks after the issue date of this notification - Teltonika may accept that this change has been tacitly accepted and can implement the change as indicated above
To download the pdf version of this notification, click here.

2024.03.19 TSW200 DIN Rail bracket change

Starting from 2024 Q2, TSW200 switch will be produced with integrated DIN Rail bracket.
PCN Number: PCN_TSW200_2023.03.19
Change description
Change type Mechanical
Detailed description

Beginning in Q2 of 2024, the current screw-on DIN Rail bracket in the TSW200 switch will be replaced with an integrated one. The new DIN Rail bracket will be shifted to the left by 0.96 mm.

Please note that this change will be implemented gradually, throughout a 3-month transitional period starting from Q2 2024, batch 33. During this period, your shipments of TSW210 may consist of either the current screw-on DIN Rail bracket or the new one described above. For inquiries regarding custom order codes, please contact your designated sales representative.

Old DIN Rail bracket:

New DIN Rail bracket:


Dimensions of old DIN Rail bracket:



Dimensions of new DIN Rail bracket:


Packaging dimensions will not change.
Change reasons Structural improvement
Affected products information
Model Affected order codes Order code changes
TSW200 TSW200 ****** No changes
Upcoming change date 2024 Q2
Change impact
Risk assessment

The product handling process may require review. Marketing materials, such as photos, might need replacement.

Suggested implementation plan Information included in this PCN will help adapt to the upcoming changes. For more detailed information, please contact your sales representative.
Acknowledgement of PCN receipt
If no feedback is received within two weeks after the issue date of this notification - Teltonika may accept that this change has been tacitly accepted and can implement the change as indicated above.
To download the pdf version of this notification, click here.

2024.01.18: EEPROM Change

Starting from 2024 Q2, TSW200 switch will be produced with a different EEPROM hardware component.
PCN Number: PCN_TSW200_2024_01_18_EN
Change description
Change type Hardware change
Detailed description In order to reduce lead times for TSW200 switch, starting from 2024 Q2, the EEPROM hardware component will be replaced with an analog part.
Change reasons Decreasing product lead time
Affected products information
Model Affected order codes Order code changes
TSW200 TSW200 ***** No changes
Upcoming change date 2024 Q2
Change impact
Risk assessment No risk factors have been identified during the evaluation of this change. However, it is recommended to conduct an independent review to ensure alignment with specific circumstances and requirements
Suggested implementation plan No implementation plan needed.
Acknowledgement of PCN receipt
If no feedback is received within two weeks after the issue date of this notification - Teltonika may accept that this change has been tacitly accepted and can implement the change as indicated above.
To download the pdf version of this notification, click here.

2023.08.02: Product packaging changes

Starting from 2023 Q3 TSW200 product packaging will be changed.
Change description
Change type Packaging
Detailed description The packaging for the product will undergo several updates including an update to the side print of the box. Additionally, the box will now feature press with certificates that will be printed according to the region. Finally, there will also be changes made to the company information section including the address, telephone number, email and website link.
Current design:

Updated packaging design:

Packaging dimensions will not change.
Change reasons Design improvement.
Affected products information
Model Affected order codes Order code changes
TSW200 TSW200 ***** No changes
Upcoming change date 2023 Q3
Change impact
Risk assessment The product handling and storage process may require review. Marketing materials, such as photos, might need replacement.
Suggested implementation plan Information included in this PCN will help adapt to the upcoming changes. For more detailed information, please contact your sales representative.
Acknowledgement of PCN receipt
If no feedback is received within two weeks after the issue date of this notification - Teltonika may accept that this change has been tacitly accepted and can implement the change as indicated above
To download the pdf version of this notification, click here.

2023.05.20: Product packaging changes

Starting in Q2 of 2023, changes will be made to the packaging of the TSW200 product.
Change description
Change type Packaging
Detailed description Starting from Q2 2023, the current polyurethane foam insert used for TSW200 will be substituted with a honeycomb insert made from cardboard.
Current:
New:
Packaging dimensions will not change.
Change reasons This change will lead to an improvement in the structural stability, impact resistance, and environmental impact reduction.
Affected products information
Model Current order code Order code changes
TSW200 TSW200 000040 No changes
Upcoming change date 2023 Q2
Change impact
Risk assessment The product handling and storage process may require review. Marketing materials, such as photos, might need replacement.
Suggested implementation plan

The information included in this PCN will help adapt to the upcoming changes. For more detailed information, please get in touch with your sales representative.

Acknowledgement of PCN receipt
If no feedback is received within two weeks after the issue date of this notification - Teltonika may accept that this change has been tacitly accepted and can implement the change as indicated above.
To download the pdf version of this notification, click here.

2023.05.17: Product packaging changes

Starting from Q3 2023 TSW200 product packaging will be changed.
Change description
Change type Packaging
Detailed description Starting from Q3 2023 TSW200 polyurethane foam insert will be replaced by honeycomb insert made from cardboard.
Current:

New:

Packaging dimensions will not change.
Change reasons This change will improve structural stability, enhance impact resistance, and reduce environmental impact.
Affected products information
Model Current order code New order code
TSW200 TSW200 000050 No changes
Upcoming change date 2023 Q3
Change impact
Risk assessment The product handling and storage process may require review. Marketing materials, such as photos, might need replacement.
Suggested implementation plan

Information included in this PCN will help adapt to the upcoming changes. For more detailed information please contact your sales representative.

Acknowledgement of PCN receipt
If no feedback is received within two weeks after the issue date of this notification - Teltonika may accept that this change has been tacitly accepted and can implement the change as indicated above.
To download the pdf version of this notification, click here.

2023.04.17: Product packaging changes

Starting from Q3 2023 TSW200 product packaging will be changed.
TSW200 PCN "2023.04.17: Product packaging changes" was updated with the information and is replaced with TSW200 PCN "2023.05.17: Product packaging changes".
Change description
Change type Packaging
Detailed description Starting from Q3 2023 TSW200 polyurethane foam insert will be replaced by honeycomb insert made from cardboard.
Current design:

Updated packaging design:

Packaging dimensions will not change.
Change reasons This change will improve structural stability, enhance impact resistance, and reduce environmental impact.
Affected products information
Model Current order code New order code
TSW200 TSW200 ****** No changes
Upcoming change date 2023 Q3
Change impact
Risk assessment The product handling and storage process may require review. Marketing materials, such as photos, might need replacement.
Suggested implementation plan

Information included in this PCN will help adapt to the upcoming changes. For more detailed information please contact your sales representative.

Acknowledgement of PCN receipt
If no feedback is received within two weeks after the issue date of this notification - Teltonika may accept that this change has been tacitly accepted and can implement the change as indicated above.
To download the pdf version of this notification, click here.

2023.02.13: MAC address range change

All Teltonika Networks devices manufactured starting from 2023, week 9 will have additional new MAC address range.
Change description
Change type MAC address range
Detailed description All Teltonika Networks devices manufactured starting from 2023, week 9 may have a MAC address from the new MAC address range 20:97:27:00:00:00 - 20:97:27:FF:FF:FF, as well as the current MAC address range 00:1E:42:00:00:00 - 00:1E:42:FF:FF:FF
Change reasons Endpoint of the previous MAC address range.
Affected products information
Model Affected order codes Order code changes
All Teltonika Networks devices All order codes No changes
Upcoming change date 2023, week 9
Change impact
Risk assessment Device install procedures or any automated solutions might need modifications.
Suggested implementation plan

For more detailed information please contact your sales representative.

Acknowledgement of PCN receipt
If no feedback is received within two weeks after the issue date of this notification - Teltonika may accept that this change has been tacitly accepted and can implement the change as indicated above.
To download the pdf version of this notification, click here.

2022.10.24: QSG flyer replacement

Starting from 2022, week 44, TSW200 routers will come with a new QSG flyer in the packaging.
Change description
Change type Replacement of QSG flyer
Detailed description TSW200 devices manufactured starting from Q4 2022 will have a new QSG flyer in the packaging. The new QSG flyer includes the short version of QSG with a QR code/link to the full Web QSG version: teltonika-networks.com/QSG_TSW200.
Previous design:
New design:
The new flyer will include QR codes with URL links to RMS and the Web version of the QSG (Quick Start Guide) for the TSW200.
Change reasons Reducing environmental impact.
Affected products information
Model Affected order codes Order code changes
TSW200 TSW200 ****** No changes
Upcoming change date 2022, week 44
Change impact
Risk assessment Marketing material such as photos might need replacing.
Suggested implementation plan Information included in this PCN will help adapt to the upcoming changes.
Acknowledgement of PCN receipt
If no feedback is received within two weeks after the issue date of this notification - Teltonika may accept that this change has been tacitly accepted and can implement the change as indicated above.
To download the pdf version of this notification, click here.